Achtung: Trennen Sie die Nähmaschine von der Stromversorgung, wozu Sie den Stecker aus der Steckdose ziehen müssen. Bei allen Reinigungsarbeiten muss die Nähmaschine von der Stromversorgung getrennt sein.

SNM33B1 Wartung der Naehmaschine 1 Ausbau der Stichplatte (A) :
Durch Drehen des Handrads (20) die Nadel vollständig anheben. Die Frontklappe öffnen und die Schrauben der Stichplatte (8) mit dem L-Schraubendreher (k) entfernen.
 
SNM33B1 Wartung der Naehmaschine 2 Reinigung der Greifer (B) :
Die Spulenkapsel herausnehmen und den gesamten Bereich mit dem gelieferten Pinsel (n) reinigen.
 
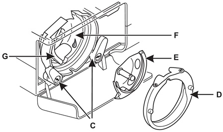
SNM33B1 Wartung der Naehmaschine 3 Reinigung und Schmierung des Hakens (C-G) :
Die Spulenkapsel herausnehmen. Die beiden Hakenhalter (C) nach außen drehen. Den Bügel der Schiffchenbahn (D) und den Haken (E) entfernen und mit einem handelsüblichen weichen Lappen reinigen.
Zum Schmieren ein oder zwei Tropfen Nähmaschinenöl (i) an der gezeigten Stelle (F) auftragen. Das Handrad soweit drehen bis sich die Schiffchenbahn (G) links befindet. Den Haken (E) wieder einsetzen und die beiden Halter wieder nach innen drehen. Die Spulenkapsel und die Unterfadenspule montieren und die Stichplatte wieder einsetzen.

Wichtig: Entfernen Sie Flusen und Fadenreste regelmässig!

Zum Seitenanfang
JSN Boot template designed by JoomlaShine.com