Anschluss des Geräts an der Stromversorgung

Achtung: Ziehen Sie den Netzstecker aus der Steckdose, wenn Sie die Nähmaschine nicht benutzen.

Achtung: Bitte treten Sie bei irgendwelchen Zweifeln hinsichtlich des Anschlusses der Nähmaschine an der Stromversorgung mit einem qualifizierten Elektrodienst in Verbindung. Wenn Sie die Stromversorgung nicht benutzen, ziehen Sie den Netzstecker aus der Steckdose. Die Nähmaschine muss mit dem passenden ELECTRONIC Fußanlasser KD-2902 / FC-2902D (220-240-V-Netz) verwendet werden.

anschluss der naehmaschine 1

Den Netzanschluss gemäß nebenstehender Zeichnung durchführen.

Beleuchtung
Durch Drücken des Hauptschalters (20) in Position "I" wird die Nähmaschine in Betrieb genommen und die Beleuchtung eingeschaltet.

 
anschluss der naehmaschine 2 Fußanlasser
Mit dem Fußanlasser (u) wird die Betriebsgeschwindigkeit der Nähmaschine geregelt.

Der Anschiebetisch

anschiebetisch

Wenn auf dem Freiarm genäht werden soll, den Anschiebetisch in Pfeilrichtung abziehen.

 

Das lnnere des Anschiebetisches ist für Zubehör vorgesehen.

Im herausnehmbaren Anschiebetisch finden Sie das beigefügte Zubehör.

Einsetzen der Nadel

Achtung: Hauptschalter auf "O" stellen!

SNMD33A1 Einsetzen der Nadel

Ersetzen Sie die Nadel regelmäßig, vor allem bei ersten Anzeichen von Nähschwierigkeiten.

Setzen Sie die Nadel wie abgebildet ein.
A. Nadelbefestigungsschraube lösen und nach dem Einsetzen der Nadel wieder festschrauben.
B. Flache Kolbenseite muss hinten sein. Einsetzen der Nadel bis zum Anschlag am Ende des Schaftes.
C/D. Nadel so tief wie möglich einsetzen.

Nur einwandfreie Nadeln benutzen.
Probleme können auftreten bei der Verwendung von:
- Krummen Nadeln
- Stumpfen Nadeln
- Beschädigten Spitzen

Zweistufen-Nähfußhebel

zweistufen naehfusshebel

Beim Nähen von extrem dicken Stoffen kann der Stoffdurchgang unter dem Nähfuß vergrössert werden, indem man den Zweistufen-Nähfußhebel (18) weiter anhebt. (Pfeil)

Montieren des Nähfußhalters

Achtung: Bei allen Anwendungen Hauptschalter auf "O" stellen!

SNMD33A1 Montieren des Naehfusshalters 1

1. Nähfußhalter montieren
Nähfuß-Stange (A) durch Anheben des Zweistufen-Nähfußhebels hochstellen. Nähfußhalter (B) wie abgebildet montieren.

2. Nähfuß einsetzen
Nähfuß-Stange (A) wieder senken bis die Rille (C) direkt oberhalb des Stifts (D) ist. Nähfuß-Stange (A) ganz senken, Nähfuß (a) rastet ein.

 

 
SNMD33A1 Montieren des Naehfusshalters 2

3. Nähfuß abnehmen
Nähfuß hochstellen. Hebel (E) leicht nach vorne drücken und der Nähfuß ist frei.

4. Einsetzen der Kanten-/Quiltführung (p)
Wie die Abbildung zeigt, Kanten-/Quiltführung (p) sorgfältig einschieben, z.B. für Säume, Falten usw.

Unterfaden spulen

unterfaden spulen a

A. Garnrolle (m) auf den Garnrollenstift setzen und mit einer Garnrollenkappe (r) befestigen.
- Garnrollenkappe Klein für schmale Garnrollen
- Garnrollenkappe Groß für breite Garnrollen

 
unterfaden spulen b B. Alternativ stecken Sie den zweiten Garnrollenstift (q) in die Öffnung für den zweiten Garnrollenstift.
 
unterfaden spulen c

Faden von der Garnrolle durch die Fadenführung zum Spulen ziehen.

Faden von innen durch ein Loch der leeren Spule nach außen ziehen. Spule auf die Spuleinrichtung stecken und dann nach rechts in die Spulposition drücken.

Fadenende festhalten. Fußanlasser betätigen. Nach ein paar Umdrehungen Fußanlasser loslassen. Faden loslassen und möglichst nahe an der Spule abschneiden. Fußanlasser wieder betätigen.

Sobald die Spule voll ist, dreht sie sich langsamer. Fußanlasser loslassen. Spule in die Nähposition zurückdrücken und entfernen.

Hinweis: Wenn sich die Spuleinrichtung in der Spulposition befindet, wird der Nähvorgang automatisch unterbrochen. Zum Nähen die Spuleinrichtung nach links drücken (Nähposition).

Spule einlegen

Achtung: Hauptschalter auf ("O") stellen!

SNMD33A1 Spule einlegen 1

Beim Einsetzen und Herausnehmen der Spule muss die Nadel immer in höchster Position sein.

1. Klappdeckel öffnen.

2. Ziehen Sie am Spulenkapselriegel (A) und entnehmen Sie die Spulenkapsel. Spulenkapsel mit der hand halten.

 
SNMD33A1 Spule einlegen 2

3. Spule so einlegen, dass der Faden im Uhrzeigersinn aufgespult ist (Pfeil).

4. Faden in den Schlitz und unter die Feder ziehen..

 
SNMD33A1 Spule einlegen 3

5. Faden in den Schlitz und unter die Feder ziehen.

6. Spulenkapsel mit Zeigefinger und Daumen am Spulenkapselriegel (A) halten.

7. Spulenkapsel in die Greiferbahn einsetzen.

Oberfaden einfädeln

Achtung: Hauptschalter auf "O" stellen! Nähfuß-Stange durch Anheben des Zweistufen-Nähfußhebels hochstellen, Fadenhebel durch Drehen des Handrads im Gegenuhrzeigersinn in höchste Position bringen. Beim Einfädeln den Pfeilen und Zahlen auf der Nähmaschine folgen.

oberfaden einfaedeln 1

 

 

1. Garnrolle (m) auf den Garnrollenstift setzen und mit einer Garnrollenkappe befestigen.
- Garnrollenkappe klein für schmale Garnrollen
- Garnrollenkappe gross für breite Garnrollen

 
oberfaden einfaedeln 2

2. Den Oberfaden durch die Oberfadenführung ziehen und im Uhrzeigersinn um die Unterfadenspulführung legen. Anschließend nach vorne in den rechten Schlitz und nach unten führen.

3. Nach links unter der Führungsnase durch und dann wieder nach oben führen.

 
SNMB1 Oberfaden einfaedeln 3

4. Faden von rechts nach links durch den Fadenhebel und nach unten führen.

5. Faden zuerst hinter die große, metallene Fadenführung und nachher durch die Nadelöse führen. Nadel stets von vorne einfädeln.

 
SNMB1 Oberfaden einfaedeln 4

Fadeneinfädler

Als Einfädelhilfe können Sie den Fadeneinfädler verwenden.
1. Fadeneinfädler von hinten nach vorne durch die Nadelöse stecken.
2. Den Oberfaden durch die Drahtschlaufe des Fadeneinfädlers führen.
3. Den Fadeneinfädler mit dem Faden durch die Nadelöse zurückziehen.

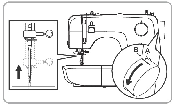
Automatischer Nadeleinfädler

nadeleinfaedler a

Achtung: Stellen Sie den Ein-/Ausschalter vor dem Einfädeln der Nadel auf "O".

Achtung: Heben Sie die Nadel auf die höchste Position an, indem Sie das Handrad zu sich drehen, bis die Markierung (A) auf die Linie (B) am Gerät zeigt.

 
nadeleinfaedler c 1. Senken Sie den Nähfuß ab. Führen Sie den Faden entlang der Fadenführung (C).
  
nadeleinfaedler c 2. Drücken Sie den Hebel so weit wie möglich nach unten. Der Nadeleinfädler dreht sich automatisch in die Einfädelposition, das winzige Häkchen schiebt sich dabei durch das Nadelöhr (D).
 
nadeleinfaedler d 3. Führen Sie den Faden vor die Nadel, so dass er sich unterhalb des Häkchens (E) befindet. Halten Sie den Faden dann leicht nach oben, so dass er am Greiferhaken einhängt.
 
nadeleinfaedler e 4. Halten Sie den Faden locker, lassen Sie dann langsam den Hebel los. Der Haken dreht sich, schiebt den Faden durch das Nadelöhr, wodurch sich eine Schlaufe bildet. Ziehen Sie den Faden ganz durch das Nadelöhr nach hinten.

Fadenspannung

fadenspannung a

A. Oberfadenspannung

Grundeinstellung der Oberfadenspannung: "AUTO".

Für eine stärkere Oberfadenspannung Skala auf die nächstgrößere Zahl drehen. Für eine leichtere Fadenspannung muss die nächst kleinere Zahl eingestellt werden.
1. Oberfadenspannung normal
2. Oberfadenspannung zu schwach
3. Oberfadenspannung zu stark

Hinweis: Die Oberfadenspannung muss beim Nähen mit feinen Stoffen wie Seide, Jersey u.s.w. auf 2-3 eingestellt werden.

 
fadenspannung b

B. Unterfadenspannung

Hinweis: Die Unterfadenspannung wurde während der Produktion korrekt eingestellt, sodass keine Veränderung notwendig ist.

Um die Unterfadenspannung zu kontrollieren, wird die volle Spule in die Spulenkapsel gesteckt. Dann lässt man die Spulenkapsel samt Greifer am Fadenende hängen. Die Unterfadenspannung ist dann richtig, wenn sich die volle Spulenkapsel bei leichtem Schwingen ca. 5 bis 10 cm nach unten abrollt, und dann ruhig hängen bleibt. Wenn sich die volle Spulenkapsel zu leicht abrollt, ist die Unterfadenspannung zu leicht; rollt sie sich nur schwer oder gar nicht ab, ist die Unterfadenspannung zu stark. Sie kann mit dem kleinen Schraubenzieher entsprechend angepasst werden.

Unterfaden heraufholen

unterfaden heraufholen a Ende des Oberfadens mit der Hand halten. Das Handrad gegen den Uhrzeigersinn drehen, bis die Nadel wieder oben steht (eine volle Umdrehung).
 
unterfaden heraufholen b Am Oberfaden ziehen, damit der Unterfaden aus dem Stichloch gezogen wird. Beide Fäden unter dem Nähfuß nach hinten legen.

Wartung der Nähmaschine

Achtung: Trennen Sie die Nähmaschine von der Stromversorgung, wozu Sie den Netzstecker aus der Steckdose ziehen müssen.
Bei allen Reinigungsarbeiten muss die Nähmaschine von der Stromversorgung getrennt sein!

SNMD33A1 Wartung der Naehmaschine 1 Ausbau der Stichplatte (A):
Durch Drehen des Handrads die Nadel vollständig anheben. Die Frontklappe öffnen und die Schrauben der Stichplatte mit dem L-Schraubendreher entfernen.
 
SNMD33A1 Wartung der Naehmaschine 2 Reinigung der Greifer (B):
Die Spulenkapsel herausnehmen und den gesamten Bereich mit dem gelieferten Pinsel reinigen.
 
SNMD33A1 Wartung der Naehmaschine 3 Reinigung und Schmierung des Hakens (C-G):
Die Spulenkapsel herausnehmen. Die beiden Hakenhalter (C) nach außen drehen. Den Bügel der Schiffchenbahn (D) und den Haken (E) entfernen und mit einem handelsüblichen weichen Lappen reinigen. Zum Schmieren ein oder zwei Tropfen Nähmaschinenöl (j) an der gezeigten Stelle (F) auftragen. Das Handrad soweit drehen bis sich die Schiffchenbahn (G) links befindet. Den Haken (E) wieder einsetzen und die beiden Halter wieder nach innen drehen. Die Spulenkapsel und die Unterfadenspule montieren und die Stichplatte wieder einsetzen.

Wichtig: Entfernen Sie Flusen und Fadenreste regelmässig!

Aufbewahrung

aufbewahrung Bei Nichtgebrauch der Nähmaschine immer Netzstecker ziehen. Verwenden Sie die mitgelieferte Staubschutzhülle. Bewahren Sie die Nähmaschine an einem trockenen und für Kinder unzugänglichen Ort auf. Wird die Nähmaschine längere Zeit nicht benutzt, sollte sie vor übermäßigem Staub, Schmutz oder Feuchtigkeit geschützt werden.

Gegenseitige Abstimmung von Nadel, Stoff und Faden

tabelle

Wichtig: Nadelgröße, Schwere des Stoffs und Dicke des Fadens müssen aufeinander abgestimmt werden.

Bitte beachten:

  • Im Allgemeinen werden zum Nähen leichter Stoffe dünnes Garn und dünne Nadeln genutzt, dickeres Garn zum Nähen schwerer Stoffe.
  • Prüfen Sie Garn- und Nadelgröße vor dem eigentlichen Nähen immer zuvor mit einem kleinen Stückchen Stoff.
  • Benutzen Sie dasselbe Garn für Nadel und Spule.
  • Nutzen Sie Trägermaterial für feine oder dehnbare Stoffe, wählen Sie den richtigen Nähfuß.
  • Die Oberfadenspannung muss beim Nähen mit feinen Stoffen wie Seide, Jersey u.s.w. auf 2-3 eingestellt werden.

Zum Seitenanfang
JSN Boot template designed by JoomlaShine.com